|
| |
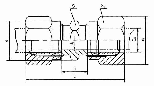
卡套式直通管接头(25MPa、40MPa) |
| 本标准规定了卡套式直通管接头,适用于油、气及一般腐蚀性介质的管路系统。 |
|
标记示例:
公称压力J级,管子外径D0为14mm的卡套式直通管接头:
管接头J14 GB/T3733.1-1983 |
| |
管子外径D0 |
公称通径DN |
d5 |
l1 |
L≈ |
扳手尺寸 |
e |
e1 |
重 量(kg/100件) |
S |
S1 |
G(25) |
4 |
3 |
9 |
40 |
13 |
15 |
15 |
17.3 |
2.59 |
5 |
3.5 |
6 |
4 |
12.4 |
47 |
16 |
18.5 |
4.18 |
8 |
6 |
18 |
57 |
15 |
18 |
17.3 |
20.8 |
6.49 |
10 |
8 |
58 |
18 |
21 |
20.8 |
24.2 |
8.21 |
12 |
10 |
19 |
59 |
21 |
24 |
24.2 |
27.7 |
10.8 |
14 |
12 |
12.7 |
16 |
14 |
20 |
62 |
24 |
27 |
27.7 |
31.2 |
16.1 |
18 |
15 |
27 |
30 |
31.2 |
34.6 |
20.3 |
20 |
17 |
67 |
30 |
34 |
34.6 |
39.3 |
25.3 |
22 |
19 |
27 |
75 |
34 |
36 |
39.3
|
41.6 |
33.6 |
25 |
22 |
77 |
41 |
47.3 |
43.1 |
28 |
24 |
29 |
80 |
41 |
47.3 |
46.1 |
32 |
27 |
83 |
46 |
50 |
53.1 |
57.7 |
68.1 |
34 |
30 |
71.3 |
40 |
34 |
85 |
50 |
55 |
57.7 |
63.5 |
84.4 |
42 |
36 |
55 |
60 |
63.5 |
69.3 |
104 |
J(40) |
6 |
3 |
19 |
55 |
15 |
18 |
17.3 |
20.8 |
7.23 |
8 |
5 |
57 |
18 |
21 |
20.8 |
24.2 |
8.97 |
10 |
7 |
20 |
62 |
21 |
24 |
24.2 |
27.7 |
12.3 |
12 |
8 |
14.6 |
14 |
10 |
64 |
24 |
27 |
27.2 |
31.2 |
18.8 |
16 |
12 |
27 |
30 |
31.2 |
34.6 |
23.3 |
18 |
14 |
66 |
30 |
34 |
34.6 |
39.3 |
26.5 |
20 |
16 |
28 |
82 |
34 |
36 |
39.3 |
41.6 |
38.3 |
22 |
18 |
30 |
84 |
41 |
47.3 |
51.5 |
25 |
20 |
87 |
41 |
47.3 |
54.1 |
28 |
22 |
31 |
89 |
46 |
53.1 |
65.8 |
|
| |
| |
| |
| |
| |
| |
| |
|
|
|