|
首 页
|
公司简介
|
新闻中心
|
产品集锦
|
产品目录
|
产品知识
|
联系方法
|
网上订单
|
电子邮局
|
干油部分
电动润滑泵
手(脚)动润滑泵
加油泵
双线分配器
单线分配器
换向阀、操纵阀及其附件
稀油部分
稀油润滑装置及稀油站
稀油润滑元件
管路安装附件
管件部分
油气润滑元件
锥密封钢丝(及棉线)编织胶管总成
锥密封胶管接头螺纹接头
锥密封胶管接头螺纹接头JB/T(6144.1-2)-92
锥(及
密55°
封非
胶密
管封
接管
头螺
公纹
制)
螺接
纹头
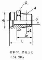
标记示例(1)公称通径
DN6的锥密封胶管接头55°非密封管螺纹接头:
锥接头6/G1/8
(2)公称通径DN10,端连接螺纹d=M14×1.5的
锥密封胶管公制螺纹接头:锥接头10/M14×1.5
公称
通径
DN
(a)公制
螺纹
(b)55°
圆锥管
螺纹接头
(a)、(b)
接头d
d1
do
S
l1
l2
L
重量
kg
4
M10×1
G1/8
M16×1.5
2.5
18
12
20
31
0.03
6
M10×1
G1/8
M18×1.5
3.5
18
12
20
31
0.04
8
M10×1
G1/8
M20×1.5
5
18
12
21
34
0.06
10
M14×1.5
G1/4
M22×1.5
7
24
14
22
35
0.08
10
M18×1.5
G3/8
M24×1.5
8
27
14
25
39
0.10
15
M22×1.5
G1/2
M30×2
10
30
16
26
40
0.14
20
M27×2
G3/4
M33×2
13
41
18
30
46
0.32
20
M27×2
G3/4
M36×2
17
41
18
37
52
0.56
25
M33×2
G1
M42×2
19
55
20
38
55
0.71
32
M42×2
G11/4
M45×2
24
55
22
41
58
0.78
40
M48×2
G11/4
M56×2
30
60
24
44
63
0.96
50
M60×2
G2
M68×2
40
75
26
50
71
1.14
锥(及
密60°
封非
胶密
管封
接管
头螺
55°纹公制)
螺接
纹头
标记示例(1)公称通径
DN6的锥密封胶管接头55°非密封管螺纹接头:
锥接头6/G1/8
(2)公称通径DN10,端连接螺纹d=M14×1.5的
锥密封胶管公制螺纹接头:锥接头10/M14×1.5
公称
通径
DN
(a)55°密封
管螺纹接头
(b)60°密封
管螺纹接头
(a)、(b)
d
l1
d
l1
d1
do
S
l2
L
重量
kg
4
R1/8
4
Z1/8
4.572
M16×1.5
2.5
18
17
29
0.03
6
R1/8
4
Z1/8
4.572
M18×1.5
3.5
18
17
29
0.04
8
R1/8
6
Z1/8
4.572
M20×1.5
5
18
18
30
0.06
10
R1/4
6.4
Z1/4
5.080
M22×1.5
7
24
22
34
0.08
10
R3/8
6.4
Z3/8
6.096
M24×1.5
8
27
24
38
0.10
15
R1/2
8.2
Z1/2
8.128
M30×2
10
30
27
41
0.14
20
R3/4
9.5
Z3/4
8.611
M33×2
13
41
28
44
0.32
20
R3/4
9.5
Z3/8
8.611
M36×2
17
41
38
56
0.56
25
R11
10.4
Z11
10.16
M42×2
19
55
39
59
0.71
32
R111/4
12.7
Z111/4
10.66
M45×5
24
55
44
64
0.78
40
R111/2
12.7
Z111/2
10.66
M56×2
30
60
46
68
0.96
50
R12
15.9
Z12
11.07
M68×2
40
75
1.14
胶
管
接
头
推
荐
长度(参考)
装配长L
320
360
400
450
500
560
630
710
800
900
1000
1120
1250
1400
偏差
+20
0
+25
0
+30
0
装配长L
1600
1800
2000
2240
2500
2800
3000
4000-5000
≥5000
偏差
+40
0
+50
0
Copyright © 2012 南通启动润滑设备有限公司 地址:启东经济开发区灵峰路698号
电话:0513-83209668 传真:0513-83308989 网址:www.ntqdrh.com E-mail:qd@ntqdrh.com