|
| |
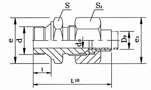
扩口式端直通管接头JB/ZQ5625.1-85 |
| 本标准适用于油、气为介质的管路系统用扩口式端直通管接头。 |
|
标记示例:
管子外径D0为10mm的扩口式端直通管接头:
管接头10 GB5625.1-85 |
| |
管子外径DO |
d0 |
d |
l |
l1≈ |
e1 |
e |
s1 |
s |
重 量(kg/100件) |
4 |
3 |
M10×1 |
8 |
31.5 |
15 |
17.3 |
13 |
15 |
2.99 |
5 |
3.5 |
3.5 |
6 |
4 |
35.5 |
17.3 |
15 |
4.82 |
8 |
6 |
M12×1.5 |
12 |
44 |
20.8 |
18.5 |
18 |
16 |
5.95 |
10 |
8 |
M14×1.5 |
45 |
24.2 |
20.8 |
21 |
18 |
7.86 |
12 |
10 |
M16×1.5 |
45.5 |
27.7 |
24.2 |
24 |
21 |
9.95 |
14 |
12 |
M18×1.5 |
31.2 |
27.7 |
27 |
24 |
18.3 |
16 |
14 |
M22×1.5 |
14 |
49 |
34.6 |
31.2 |
30 |
27 |
17.1 |
18 |
15 |
17.8 |
20 |
17 |
M27×2 |
16 |
58.5 |
41.6 |
39.3 |
36 |
34 |
29.2 |
22 |
19 |
59.5 |
31.7 |
25 |
22 |
M33×2 |
18 |
64 |
47.3 |
47.3 |
41 |
41 |
42.5 |
28 |
24 |
66.6 |
53.1 |
46 |
50 |
32 |
27 |
M42×2 |
20 |
71 |
57.7 |
57.7 |
50 |
50 |
67.7 |
34 |
30 |
71.5 |
68.3 |
|
| |
| |
| |
| |
| |
| |
| |
| |
| |
| |
|
|
|